
Custom Machining Service for Complex-Shaped Stainless Steel Parts
Introduction: Why Complex Stainless Steel Parts Are Challenging to Machine As a procurement manager, you know that finding a reliable
首页 » Industry Encyclopedia » Page 9

Introduction: Why Complex Stainless Steel Parts Are Challenging to Machine As a procurement manager, you know that finding a reliable

As a professional CNC machining custom manufacturer, Xiamen Goldcattle possesses advanced CNC custom machining equipment and has extensive experience in

Introduction Computer Numerical Control (CNC) milling is a fundamental subtractive manufacturing process that has revolutionized modern manufacturing. This comprehensive guide

Introduction Computer Numerical Control (CNC) machines have revolutionized modern manufacturing by providing precise, automated control of machine tools. Understanding the

Introduction Computer Numerical Control (CNC) technology has revolutionized modern manufacturing by enabling precise, automated control of machine tools through computer

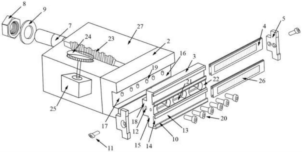
Table of Contents Overall Equipment Structure Design Spindle System Core Technology Feed Drive System Tool Magazine and Automatic Tool Changer

You might know that injection molding can make plastic products, but did you know there are actually many different types

You’ve probably seen many plastic products made through injection molding. But did you know that now metal can also be

Injection molding is one of the most important plastic processing methods in modern manufacturing. By precisely controlling parameters such as

Injection molding is one of the most widely used plastic processing methods in modern manufacturing. From everyday plastic cups to